Реле давления KPI35R, KPI36R, KPI38R (Ридан) предназначены для регулирования, текущего контроля и аварийной сигнализации в промышленности. Устанавливаются в системах с жидкими и газообразными средами.
Реле давления Ридан снабжены однополюсными выключателями, которые замыкают или размыкают электрическую цепь при изменении давления в системе по сравнению с заданным давлением.
☞ Реле давления типов KPI не являются средством измерения.
- Основные характеристики
- Устройство реле давления KPI
- Рекомендации по монтажу и наладке
- Комплексная проверка
- Пример работы реле давления KPI, установленного на узле подпитки
- Техническое обслуживание
- Комплектность поставки
- Маркировка и упаковка
- Габаритные размеры
- Номенклатура и коды для оформления заказа
- Где купить
Основные характеристики
- Диапазон давлений уставки от –0,2 до 32 бар позволяет подобрать нужное значение уставки для большинства применений.
- Температура рабочей среды от –20 до +120 °C.
- Материалы, контактирующие со средой: латунь/бронза.
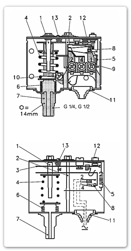
Устройство реле давления KPI

- Настроечный шпиндель шкалы «range»
- Настроечный шпиндель шкалы «diff»
- Основной рычаг
- Пружина шкалы «range»
- Пружина шкалы «diff»
- Сильфон
- Присоединительный штуцер
- Клеммная панель
- Клемма
- Заземление
- Кабельный вход
- Омегообразная пружина
- Стопорный винт
Рекомендации по монтажу и наладке
Монтаж и демонтаж
Регулирование
Комплексная проверка
Пример работы реле давления KPI, установленного на узле подпитки
Настройка прибора:
- Шкала «range» – 6 бар.
- Шкала «diff» – 1,5 бар.
Работа прибора:
- При номинальном давлении выше 6 бар у прибора замкнуты контакты 1 и 4 (Рис. ХХХХХХХ).
- В системе происходит падение давления (утечка), клеммы находятся в том же положении, однако как только давление снижается до значения 4,5 бар, происходит размыкание контактов 1–4 и замыкание контактов 1–2, и открывается электромагнитный клапан.
- Производится подпитка системы из обратного трубопровода тепловой сети.
- Когда давление в сети выросло до значения 6 бар, происходит обратное переключение с 2 на 4 клемму, электромагнитный клапан закрывается.

Техническое обслуживание
Техническое обслуживание KPI сводится к соблюдению правил эксплуатации, хранения и транспортирования, изложенных в данном руководстве по эксплуатации, и профилактическим осмотрам.
Профилактические осмотры проводятся в порядке, установленном на объектахэксплуатации KPI, но не реже двух раз в год и включают:
- внешний осмотр;
- проверку функционирования.
⚠︎ Эксплуатация KPI Ридан с повреждениями и неисправностями запрещается !!!
⚠︎ Реле давления KPI35R, KPI36R, KPI38R Ридан не являются ремонтопригодными.
Комплектность поставки
В комплект поставки входит:
- реле давления типа KPI;
- верхняя крышка;
- кронштейн;
- винты;
- упаковочная коробка;
- инструкция;
- паспорт (предоставляется по запросу в электронной форме);
- руководство по эксплуатации (предоставляется по запросу в электронной форме).
Маркировка и упаковка
На корпусе прибора нанесена следующая информация:
- товарный знак производителя,
- тип реле давления,
- код для заказа,
- дата изготовления,
- диапазона настройки уставки,
- диапазона настройки дифференциала,
- размера технологического присоединения,
- типа сброса.
На упаковочной коробке расположена наклейка с указанием названия реле давления, кода для заказа, диапазона настройки уставки, диапазона настройки дифференциала, размера технологического присоединения, типа сброса.
Габаритные размеры

Масса нетто, кг → 0,3
Номенклатура и коды для оформления заказа
Подбор реле давления KPI35R, KPI36R, KPI38R осуществляется по таблице «Номенклатура и коды для оформления заказа» следующим образом:
- Определите необходимый диапазон уставок (настройки) работы реле давления.
- В зависимости от диапазона уставок выберите модификацию реле давления.
- В зависимости от дифференциала выберите код для заказа реле давления.
| Тип | Присоединение | Диапазон уставок, бар | Дифференциал, бар | Максимальное рабочее давление, бар | Кодовый номер |
|---|---|---|---|---|---|
| КРI35R | G ¼ | –0,2–7,5 | 0,7–4 | 17 | 060-121766R |
| КРI35R | G ½ | –0,2–7,5 | 0,7–4 | 17 | 060-132466R |
| KPI36R | G ¼ | 2–14 | 1–4 | 17 | 060-118966R |
| KPI38R | G ¼ | 8–32 | 2–6 | 35 | 060-508166R |
Где купить
☞ Купить реле давления KPI 35R, KPI 36R, KPI 38R прессостат (Ридан) по выгодной цене со скидкой и доставкой по РФ можно на сайте kipkatalog.ru
Прайс-лист актуален на дату публикации статьи
